lixiaoyong 科技 商标 申请热点人物‘胖猫’作为商标,违规吗? 近年来,一些商家或个人为了获取商业利益,会尝试“蹭热点”进行商标申请注册,这种行为无疑是“商标毒瘤”。原则上‘胖猫’这两个字是可以注册用于商标的,也有过申请成功的记录如下图: 该公司早在23年7月就提交了注册申请,并且已经通过审核拿到该名称的商标权,很多小伙伴也私信我,像这种情况怎么避免,先说结论:其实为了整治这种行为,商标局会按照《商标审查审理指南》“囤商标”“
lixiaoyong 科技 商标 莱曼拿下“无敌之师”商标! 《太阳报》报道,前阿森纳球星延斯-莱曼买下了“无敌之师”(Invincibles)的商标使用权。这位门将参加了2003-04赛季阿森纳不败赛季的每一场比赛。莱曼在2020年开始申请该商标,最终花费了3万英镑办理,而阿森纳并不知道这笔交易。 莱曼在接受采访时解释说:“我之所以有这个想法,是因为在不败赛季诞生20周年之际,这个名字越来越受欢迎。没有人拥有它,所以我在调查。我已经准备好
lixiaoyong 科技 商标 腾讯注册“微信轻游戏”商标,商标实审知多少? 腾讯提前商标布局 近日,腾讯科技(深圳)有限公司申请注册了“微信轻游戏”商标,商标类别分别为第9类、第41类和第35类等。一般而言,大型企业会根据自身的战略发展和项目规划,提前申请注册商标为以后新项目上线使用。此次腾讯的“新动作”就引发了市场对于腾讯在游戏领域新布局的关注。 通过在商标局官网查询,小编发现这几件商标目前都处于实质审查阶段。众
lixiaoyong 科技 商标 商标热点丨蜜雪申请多枚AI相关商标;京东注册“京东拼拼”商标 1、近期,蜜雪冰城股份有限公司申请注册“AI SNOWKING CULTURE”“雪王文化AI”等商标,国际分类涉及教育娱乐、办公用品、科学仪器,目前上述商标状态均为等待实质审查。 2、近日,盒马旗下平价社区超市盒马NB正式更名为“超盒算NB”。经查询,盒马(中国)有限公司已申请注册多枚“
lixiaoyong 科技 商标 非法囤积商标获利:已被停职接受调查 4月28日,网络出现我局干部覃某某涉嫌非法囤积商标获利的举报信息后,市委市政府高度重视,迅速成立联合调查组,启动调查程序。我局已对覃某某作出停职接受调查的决定。 对网络举报的内容,我们将根据调查情况,依规依纪依法严肃处理,坚决维护当事人合法权益,全力营造良好的营商环境。 宜昌市市场监督管理局 2024年4月29日 http://news.cnr
lixiaoyong 科技 商标 蜜雪冰城又内卷,商标注册颜色怎么选? 雪王商标变绿 善于营销的蜜雪冰城又一次展开动作,宣布与中国邮政合作,并在网络上公开晒出与邮政风格一致的绿色蜜雪冰城门店图片。消息一出,网友纷纷调侃“雪王入编制”。不同于网友的“入编”调侃,知识产权从业人员将注意力放在了门店的商标图案上,雪王突然就变绿了? 其实,早在2022年6月,蜜雪冰城就为了出新品“黑化”过,也就是把商标里的雪王变成了黑色。那
lixiaoyong 科技 商标 茅台起诉二锅头侵权!酒企如何做好商标保护 在中国酒类市场上,品牌的力量和商标的价值一直是企业竞争的核心。近日,贵州茅台酒股份有限公司(以下简称茅台)与北京二锅头酒业股份有限公司(以下简称二锅头)之间的侵权案件,再次引发了人们对白酒行业商标侵权问题的关注。 茅台状告二锅头 茅台公司日前起诉二锅头公司,涉及商标侵权及不正当竞争纠纷。根据四川自由贸易试验区人民法院公告内容显示,茅台请求判令二锅头立即
lixiaoyong 科技 商标 “淄博烧烤”爆火的背后,地理标志证明商标抢注引关注 “烧烤之都”——山东淄博 有人这样评价淄博烧烤:淄博烧烤,火的其实不是烧烤,而是人间烟火和好客山东!也有人认为,淄博烧烤之所以爆火,是因为它兑现了人们对自由市场的各种想象:有物美价平的商品,有畅快淋漓的消费体验、有童叟无欺的市场环境以及谦卑和气的政府单位。 事实上,在淄博烧烤爆火之前,淄博是一座受关注度较低的老工业城市。
lixiaoyong 科技 商标 雀巢在中国换新品牌logo,品牌商标如何注册保护? 雀巢咖啡在云南普洱举行了盛大的品牌焕新暨新品发布会,宣布将旗下所有子品牌统一整合为“雀巢咖啡”母品牌,以全新的形象开启中国市场的新篇章。 在此之前,雀巢咖啡的子品牌包括一些单独的产品品牌,比如“雀巢咖啡1+2”“丝滑拿铁”“醇品”“金牌”等。此次品牌焕新,不仅更新了标志性的品牌LOGO,还同时推出了全新设计的系列产品包装,有助于加强消费者对雀巢咖啡母品牌的记忆连接,提升品牌辨识度。
lixiaoyong 科技 商标 2024京津冀知识产权保护活动在雄安新区举办 4月24日,由国家知识产权局指导,北京市知识产权局、天津市知识产权局、河北省市场监督管理局、河北雄安新区管委会主办,河北省知识产权保护中心承办的2024京津冀知识产权保护活动在雄安新区成功举办。 京津冀知识产权部门共同成立京津冀海外知识产权保护联盟,签署《联学共建协议书》《京津冀知识产权快速协同保护合作备忘录2.0》《京津冀海外知识产权纠纷应对指导合作备忘录》,联合发布《数据产权
lixiaoyong 科技 商标 天津多家肯德基门店被立案调查 官方暂无回应 10月22日中午消息,据天津日报报道,从天津市市场监管部门了解到,已经有多个分局发现辖区内“肯德基”使用转基因大豆油,且都没有向消费者明示。多区市场执法人员分别对这一涉嫌违法行为进行了立案调查。针对此事,肯德基官方暂无回应。
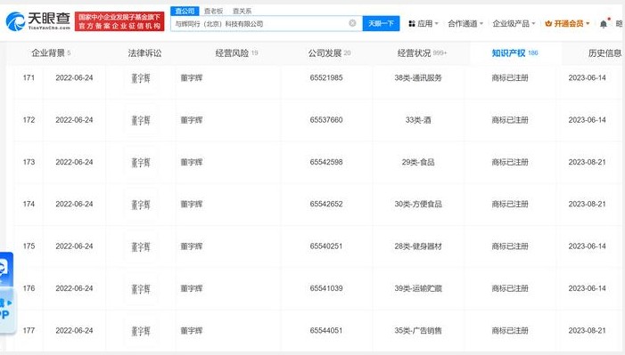
lixiaoyong 科技 商标 董宇辉商标已转给与辉同行公司 天眼查知识产权信息显示,近日,东方甄选关联公司东方优选(北京)科技有限公司将其注册的多枚“董宇辉”图文商标,转让给与辉同行(北京)科技有限公司,商标国际分类包括广告销售、教育娱乐、办公用品、食品等。 与辉同行(北京)科技有限公司成立于2023年12月,注册资本1000万人民币,法定代表人、执行董事、经理为董宇辉,监事为俞敏洪,由北京新东方迅程网络科技有限公司全资持股。